搜索-防雷MORE+
盛夏時節,雷陣雨常伴隨著我們,氣象專家介紹,雷電發生時,雷電波會沿著架空線路和金屬管道侵入屋內損壞設備,嚴重的還會危及人身安全。那么我們應該如何預防雷電呢?小編從室內和室外兩個方面分別為大家分享了預防雷電安全小常識。
2022-07-27
查看詳情>>建筑如何防雷?夏季雷雨天頻發,應當比其他時節更加注重雷電防護。但這并不意味著防雷只是一時之事,雷電的防護應當是持久不斷地,只有這樣才能在最大程度上避免雷擊帶來的傷害。在我們的日常生活之中,除了要注意個人的雷電防護,對于我們容身之處各類建筑物也應當積極防雷避雷。
2022-07-29
查看詳情>>電的廣泛使用促進了防雷產品的發展,當高壓輸電網為千家萬戶提供動力和照明時,雷電也大量危害高壓輸變電設備。建筑物,特別是高層建筑物因為高度高,容易落雷,如果沒有可靠的防雷系統,極易對建筑及建筑內的設備造成損壞或火災,對人員造成傷害,建筑防雷系統是保護設備 人員必不可少的防雷設備之一。
2022-08-04
查看詳情>>有很多朋友想要做防雷檢測,以為只能去氣象局,實際上在2016年開始,防雷檢測業務以及由政府放開到市場,現在市面上的公司只要取得CMA資質的第三方公司就可以進行防雷檢測。防雷檢測公司哪家好呢?
2022-08-05
查看詳情>>有些朋友會有疑問,防雷器能用多久?是不是只能防一次雷擊就壞了呢?今天易造小編就帶你了解一下防雷器的使用壽命。GB 18802.11標準中規定:電涌保護器(SPD)是用于限制瞬態過電壓和泄放電涌電流的電器。
2022-08-07
查看詳情>>防雷箱是一種防雷擊設備,主要安裝在配電房、配電柜、交流配電屏、開關箱和其它重要設備容易遭受雷擊設備的電源進線處,以保護設備免遭沿電源線路侵入的雷擊過電壓造成的損害。
2022-08-11
查看詳情>>三級防雷規范和要求,我們都知道雷擊對于建筑物傷害威脅是巨大的,所以為了使建(構)筑物防雷設計因地制宜采取防雷措施,防止或減少雷擊建筑物所發生的的人身傷亡和文物、財產損失,做到安全可靠、技術先進、經濟合理,制定本規范,即防雷規范。
2022-08-12
查看詳情>>防雷接地就是讓已經納入防雷系統的閃電能量泄放入大地,良好的接地才能有效地降低引下線.上的電壓,避免發生反擊。接地是避雷技術最重要的環節,不管是直擊雷、感應雷、或其他形式的雷,最終都是把雷電流送入大地。因此,沒有合理而良好的接地裝置是不能可靠地避雷的。
2022-08-16
查看詳情>>隨著我國國民經濟的迅速發展,智能設備及電子信息系統的廣泛應用對雷擊災害的預防越來越嚴苛,雷電災害的發生往往對此類場所造成及其嚴重后果。為把雷電災害減少到最低程度,我們必須增強防雷減災意識,防雷裝置安全檢測尤其值得我們重視,那么你知道防雷裝置有哪些嗎?防雷裝置的主要組成呢?
2022-08-18
查看詳情>>機房防雷,隨著通信技術、計算機網絡技術的飛速發展,計算機和網絡越來越深入人們生活和工作中,同時也預示著數字化、信息化時代的來臨。 這些微電子網絡設備的普遍應用,使得防雷的問題顯得越來越重要。雷電不僅僅破壞系統設備,更為重要的是使系統的通訊中斷、工作停頓、聲譽受損,其間接損失無法估量。
2022-08-19
查看詳情>>很多客戶在購買產品的時會將防雷器和避雷器弄混淆。但事實上,它們不是同一種產品。那么防雷器和避雷器一樣嗎?防雷器和避雷器同為防雷產品,要理解防雷器和避雷器的區別,我們首先從概念開始了解這兩種產品。
2022-08-23
查看詳情>>隨著科學技術的發展,電子設備得到了飛速發展。同時,在雷電天氣的隱患又變成了一個問題。因此,防雷設計顯得更加重要。為了阻止雷電帶來的傷害,安裝防雷裝置是必不可少的。那防雷裝置又是什么呢?
2022-08-24
查看詳情>>雷電的產生是伴有閃電和雷鳴的一種雄偉壯觀而又有點令人生畏的放電現象。雷電一般產生于對流發展旺盛的積雨云中,因此常伴有強烈的陣風和暴雨,有時還伴有冰雹和龍卷風。今天小編給大家分享關于雷電的產生,歡迎閱讀。
2022-08-25
查看詳情>>隨著城市進程的加快,城市的高樓大廈越來越多,房子越做越高就日益突出了防雷接地工程的重要性。人人都想居住在一個安全的環境中,防雷其實在現代生活中是一個非常重要的工作.今天就來跟大家分享一下防雷等級劃分。
2022-08-29
查看詳情>>隨著社會的發展,越來越多的高樓大廈升起,隨處可見各種攝像機矗立在馬路上,它們默默維護者秩序。攝像機通常被安裝在戶外,當遇到雷雨天氣的時,需要一種專用的防雷器來保護它,它的名字叫二合一防雷器(也稱網絡二合一浪涌保護器、電源網絡二合一電涌保護器、攝像機防雷器等)那么,它究竟是一種什么樣的產品呢?
2022-08-30
查看詳情>>在夏季生活中,我們常常會突然就遇見雷電天氣。在雷電發生時,我們盡量不要到室外活動,大多數雷擊死亡的事故都發生在戶外。所以在遇到烏云密布,狂風暴雨即將來臨時,大家盡快躲到室內。為增強大家的防雷減災意識,下面一份防雷安全知識,大家一定要知道!
2022-09-01
查看詳情>>防雷器是一次性的嗎?這個問題對于大多數的客戶來說,都是一個疑問。防雷器是不是被雷擊擊中一次就壞了?其實并不是,小編在這里很負責任的告訴大家,防雷器能防護多少次雷擊,和雷擊能量大小有關系。
2022-09-06
查看詳情>>近幾年,自然災害不斷出現在我們的視野,當然雷擊也不例外,眾所周知雷電的破壞力極大,凡遇到雷擊,國民經濟和人民生命財產就會遭遇巨大的損失。廢話不多說,小編就為您帶來了防雷的三種方法。
2022-09-09
查看詳情>>防雷器(Surge protection Device)是電子設備雷電防護中不可缺少的一種裝置,過去常稱為“避雷器"或"過電壓保護器"英文簡寫為SPD。防雷器的作用是把竄入電力線、信號傳輸線的瞬時過電壓限制在設備或系統所能承受的電壓范圍內,或將強大的雷電流泄流入地,保護被保護的設備或系統不受沖擊而損壞。
2022-09-21
查看詳情>>隨著現在防雷檢測越來越受重視,用戶關注的話題也越來越多,其中要以"防雷檢測主要檢測哪些項目"較為關注。為了能讓更多人來了解它,因此,小編在這里為大家分享相關知識,防雷裝置檢測具體內容如下:
2022-09-14
查看詳情>>眾所周知,雷雨天氣中的雷電是非常危險的,雷電會對我們的生產和生活造成很大的影響,那我們怎么能將這個“危險"化險為夷呢?在通信電源里,我們要用到一種保護裝置,這種保護裝置叫"防雷模塊"。當遭遇雷擊時,防雷模塊會將瞬間大電流引入大地釋放掉,以保證用電設備的安全。
2022-09-19
查看詳情>>我們日生活中常聽到防雷裝置有避雷針,避雷線,浪涌保護器等,那你聽說過防雷管嗎?接下來就和小編一起來聊聊防雷管吧!防雷管又叫氣體放電管,是由相互離開的一對冷陰板封裝在充有一定的惰性氣體(Ar) 的玻璃管或陶瓷管內組成的。
2022-09-22
查看詳情>>我們知道,平時直擊雷的防護是靠接閃器引雷,然后經過引下線把雷電流引入地網,再通過地網把雷電流泄入大地,那么這個里面的防雷接閃器你究竟知道多少呢?接閃器,是指直接接受雷擊的避雷針、避雷帶(線)、避雷網,以及利用作接閃的金屬屋面和金屬構件,避雷針、避雷線、避雷網和避雷帶都是接閃器,它們都是利用其高出被保護物的突出地位,把雷電引向自身,然后通過引下線和接地裝置,把雷電流泄入大地,以此保護被保護物免受雷擊。
2022-09-29
查看詳情>>你知道防雷建筑物分為幾類嗎?建筑物防雷等級依據其重要性、使用性質、發生雷電事故的可能性和后果劃分為三類,今天我們來聊聊第一類防雷建筑物。遇下列情況之一時,應劃為第一類防雷建筑物:
2022-10-05
查看詳情>>隨著科學技術的不斷發展,我們已經可以通過的科學技術來避免自然災害給我們帶來的傷害。人們從簡單的雷針已經發展到多種形式的防雷裝置,其中的建筑物防雷接地十分重要,今天易造小編就帶您了解建筑物防雷接地。
2022-10-07
查看詳情>>在我們生活中經常聽說spd防雷器,今天小編就帶大家來聊一聊spd防雷器,來了解一下什么是spd防雷器,它有什么作用,有什么類型,保護等級分幾級。spd防雷器也稱浪涌保護器,是一種為各種電子設備、儀器儀表、通訊線路提供安全防護的電子裝置。
2022-10-09
查看詳情>>建筑防雷裝置顧名思義,就是對其建筑做好防雷措施的裝置,那么建筑防雷裝置由哪幾部分組成?建筑物的防雷裝置包括接閃裝置、引下線和接地裝置三個部分。其防雷的原理是通過金屬制成的接閃裝置將雷電吸引到自身,并安全導入大地,從而使附近的建筑物免受雷擊。
2022-10-12
查看詳情>>浪涌保護器,也叫防雷器,是一種為各種電子設備、儀器儀表、通訊線路提供安全防護的電子裝置。當電氣回路或者通信線路中因為外界的干擾突然產生尖峰電流或者電壓時,浪涌保護器能在極短的時間內導通分流,從而避免浪涌對回路中其他設備的損害。以下是有關“浪涌保護器接線圖”的詳細說明。
2022-10-14
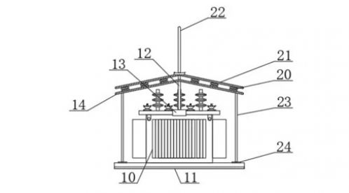
查看詳情>>自然災害中閃電的沖擊電流極大,放電時間斷,感應電壓也達到一個極高值,對于各種人員、設施的傷害威脅亟待。其中變電站變壓器事故有三成是雷擊事故,并有逐年上升的趨勢,確保變壓器安全運行必須提高防雷變壓器的防雷可靠性。
2022-10-17
查看詳情>>每年人畜被雷擊的事件時有發生,為增強防雷自護能力,特向大家介紹一些防雷電安全知識小常識。以下是小編整理關于防雷電安全教育的內容。
2022-10-18
查看詳情>>隨著電子信息技術的高速發展,智能設備、信號設備的不斷增加和擴大,使得人們在這些設備時所需要的安全環境顯得尤為重要。在我們生活中常用到浪涌防雷保護器來保護設備安全,今天小編就帶大家來聊一聊浪涌防雷保護器,來了解一下什么是浪涌防雷保護器。
2022-10-20
查看詳情>>家裝有必要裝浪涌保護器嗎—專業
“家庭安裝浪涌保護器真的有必要嗎”相信很多人會與這樣的疑問。事實證明,現如今家庭雷電事故屢見不鮮,安裝浪涌保護器已迫在眉睫。目前時候市場上大量劣質浪涌保護器涌入,許多用戶不知如何選著與判別,這也成為大部分家庭用戶需要解決的一個難題,那么如何才能選擇一款合適的家用浪涌保護器呢?
2022-10-21
查看詳情>>隨著科學技術的發展,電子設備得到了飛速發展。同時,在雷電天氣的隱患又變成了一個問題。因此,防雷設計顯得更加重要。為了阻止雷電帶來的傷害,安裝防雷裝置是必不可少的。那防雷裝置又是什么呢?
2022-10-24
查看詳情>>隨著城市進程的加快,城市的高樓大廈越來越多,人人都想居住在一個安全的環境中,防雷其實在現代生活中是一個非常重要的工作,今天就來跟大家分享一下防雷類別。防雷類別劃分其實一般指的是建筑物防雷雷別的劃分,建筑防雷類別等級越高防雷措施就越嚴格。按照防雷要求,建筑物防雷類別分為以下三類。
2022-10-26
查看詳情>>今天易造官網小編就為大家來普及一下,有關高速公路收費站的防雷基礎知識。高速公路收費站建筑主要由收費棚、辦公管理樓和收費廣場組成,收費棚主要由ETC,MTC出入口車道組成,收費車道機電設備集中安裝在收費島上;辦公管理樓有通訊室、收費電源室、通信系統設備、服務器、交換機、UPS等待設備;收費廣場上有攝像機立柱、高桿燈、可變信息情報板等機電設施。
2022-10-27
查看詳情>>其實在近些年來,智能雷電預警系統是各行各業在防雷工作之中討論的比較多而且很比較火熱的話題。那么你有想過為什么各行各業,尤其像?;袠I,如油庫罐區、化工廠、加油站等等都紛紛選擇安裝了智能雷電預警系統呢?
2022-10-27
查看詳情>>一般人不知道!原來地鐵站也是需要防雷的!很多朋友說地鐵在地下,不像在地上的建筑需要采取防雷措施,比如安裝避雷帶、避雷網、避雷針、引線、接地體、均壓環、等電位、浪涌保護器(俗稱避雷器)等。那么事實真的是這樣的嗎?下面讓易造官網小編給大家介紹一下普及一下這個知識。讓我們看看究竟為什么地鐵需要安裝防雷裝置!
2022-10-27
查看詳情>>很多人都知道一分價錢一分貨,那么在雷電預警系統市場上的價格為什么差距如此之大呢?一套雷電預警系統需要多少錢呢?其實在市場上,國內的雷電預警系統的報價范圍大約在2萬至30萬之間,而國外品牌在中國的報價更高,一般在30萬至60萬之間。
2022-10-28
查看詳情>>你知道工廠防雷應該要怎么做嗎?工廠的防雷措施是否需要年檢?像一般的廠房都會安裝防雷措施的,從外部的防雷到內部的防雷,一整套的綜合防雷系統都是需要做的。因為只有這樣才能有效保障廠區的安全生產。下面小編就為大家介紹一下相關情況趕快收藏!
2022-10-28
查看詳情>>小編相信很多人都不知道什么是電壓均衡器,其實電壓均衡器也叫做雷電沖擊裝置、地電位連接器、地極保護器、火花隔離間隙等。電壓均衡器作用是很大的,廣泛應用于各行各業!當下其主要應用于直流1500V牽引供電和直流750V及以下牽引供電的城市軌道交通的高架區間。
2022-10-31
查看詳情>>很多人不知道雷電峰值記錄儀的作用是什么?其實雷電峰值記錄儀是專門為記錄雷電流大小而設計和制造的,它和避雷針和和引下線的配套使用。其被廣泛用于石油化工罐區、機場、風力發電場、景區、避雷塔、超高層建筑、變電站、鐵路接觸網、鐵路站點等行業領域。
2022-10-31
查看詳情>>相信很多人都不知道什么是雷電流記錄儀,更不懂雷電記錄儀原理。那么今天杭州易造小編就為各位來普及一下這個知識點,讓你對雷電記錄儀原理有一個深入的了解。在介紹雷電記錄儀原理之前小編先來介紹一下什么是雷電記錄儀。
2022-10-31
查看詳情>>什么叫地網接地電阻測試儀?相信沒有幾個人知道,因為這畢竟是專業知識。其實它也不復雜,言簡意賅地說就是用于地網接地電阻測試的設備。下面杭州易造小編就為各位來詳細介紹一下吧!
2022-11-01
查看詳情>>什么是地網接地電阻測試儀?其實地網接地電阻測量儀一般是用在超大型、大型、中型地網的接地特性參數測量。運用數字選頻測量(電子對抗)技術,具有很強的抗干擾能力,能有效消除由工頻感應、零序電流、諧波和雜散信號的干擾給測量帶來的誤差;
2022-11-01
查看詳情>>雷擊現象雖然不是時有發生,但是你要清楚這種事情是不能碰到一次的!所以對于一些重要場所安裝雷電預警系統是很有必要的!因為一旦發生雷擊,造成的經濟損失和人員傷害是很大的。像加油站這樣重要的場所,安裝加油站雷電預警系統就真的很重要,如果發生雷擊就很有可能造成火災、爆炸,而且波及范圍特別大!
2022-11-02
查看詳情>>當下的很多景區都對安裝雷電預警系統這件事情十分重視,因為很多景區山勢險峻,尤其是高山景區容易遭受雷擊,如何防止雷擊對游客的傷害成了很多景區急需解決的問題。而安裝景區雷電預警系統無疑是一個很好的主動防雷方式!因為可以提前預警,所以能很好幫助景區管理者解決雷暴天氣的相關工作。下面小編就為大家介紹一下景區雷電預警系統安裝選擇哪家公司?
2022-11-02
查看詳情>>停機坪雷電預警系統怎么選?為什么要安裝停機坪雷電預警系統,近些年來隨著我們國家的國民經濟和城市建設的快速發展,很多城市的高層建筑如雨后春筍般涌現出來,特別是一些城市越來越多的超高層建筑也是紛紛拔地而起,(按照GB50045-95.2005年版的《高層民用建筑設計防火規范》的有關規定,高度超過100米的建筑物就稱之為超高層建筑)。假如其一旦發生火災,在其他救援手段十分困難的情況下,利用直升機到達屋頂可以為撲救火災和疏散人員創造有利的條件。
2022-11-02
查看詳情>>石油倉儲安裝雷電預警系統的作用是什么?因為石油倉儲存放著很多易燃易爆的產品,一旦發生雷擊情況,后果不堪設想!根據以往氣象部門雷擊災害事故統計,32.5%油庫火災是由雷擊造成的,隨著我國石油儲備的加強,防止油庫的雷害事故就更加值得關注,而目前油庫雷電預警系統的安裝是保障石油倉儲安全有效的措施之一。
2022-11-03
查看詳情>>國內外雷電預警系統廠家有哪些?教您選擇雷電預警的3個方法【易造
隨著應急部文件的發布,國內很多油庫陸續安裝了雷電預警系統,同時引起了其他行業的關注,雷電預警系統由之前乏人問津的產品變成了炙手可熱的明星,于是很多地方冒出來各種各樣的雷電預警設備,國內外的都有。
2022-11-03
查看詳情>>根據《全國危險化學品安全風險集中治理方案》,把將雷電預警系統不完善列入了危險化學品生產儲存環節重大安全風險之一,這也說明了雷電預警系統的安裝建設是大勢所趨的。當下眾多?;袠I安裝了雷電監測預警系統,一方面是為了讓像油庫罐區這樣的危險場所的安全沒有后顧之憂,而還有一方面是為了積極響應國家的政策,完成雷電預警系統的建設工作。
2022-11-03
查看詳情>>企業安裝雷電預警系統,為安全增添一雙“火眼金睛”【易造
雷電天氣對企業的安全管理和生產建設有著重大的影響,特別是一些危化品行業(油庫、石油罐區)一到每年的雷雨季節,總是嚴陣以待。2022年應急管理部門的《《大型油氣儲存基地雷電預警系統基本要求(試行)》的相關通知發布以后,各大?;菲髽I、油氣存儲基地等企業公司都紛紛開始安裝雷電預警系統。而企業雷電預警系統地投入使用好比添了一雙“火眼金睛”可以能提前預警監測防雷。
2022-11-04
查看詳情>>根據《全國危險化學品安全風險集中治理方案》,把將雷電預警系統不完善列入了危險化學品生產儲存環節重大安全風險之一,這也說明了雷電預警系統的安裝建設是大勢所趨的。當下眾多危化行業安裝了雷電監測預警系統,一方面是為了讓像油庫罐區這樣的危險場所的安全沒有后顧之憂,而還有一方面是為了積極響應國家的政策,完成雷電預警系統的建設工作。那么我們要怎么找到一個好的雷電預警系統廠家呢?
2022-11-04
查看詳情>>電壓均衡器也叫雷電沖擊裝置、地電位均衡器、地極保護器,主要應用于直流1500V牽引供電和直流750V及以下牽引供電的城市軌道交通的高架區間,主要作用是阻礙牽引供電系統雜散電流對地泄漏,同時也為雷電沖擊電流提供對地泄放通道。那么城市軌道交通電使用壓均衡器的作用是什么呢?
2022-11-04
查看詳情>>雷電預警系統?是當前公認的能大幅降低雷擊傷亡與災害最有效的措施之一,高爾夫球場雷電預警系統能及時、準確地預報當地雷擊活動情況,為企業安全的安全生產管理提供科學的依據。
2022-11-04
查看詳情>>大氣電場儀是用來測量大氣電場及其變化從而實現雷電預警的設備,基于電效應的大氣電場是唯一貫穿于雷電生命期(雷雨云起電、發展、消散等)的各個階段,當雷雨云中的電荷積聚到一定程度時,就會在云與云之間或云與地之間發生閃電。
2022-11-05
查看詳情>>接地電阻?也可以在線監測了!接地是避雷技術非常重要的環節之一,無論是直擊雷或感應雷,最終都是把雷電流引入大地。沒有合理而良好的接地系統是不能可靠避雷的,接地系統的良好與否,直接關系到防雷的效果和質量。
2022-11-06
查看詳情>>能讓你提早發現雷雨臨近的“偵查員”出現了!雷電預警系統【易造
雷電天氣對生產企業來說是件麻煩事,輕則生產停工,重者損壞設備傷害人,造成的損失無法估量。特別是危化品行業(油庫、石油罐區)一到每年的雷雨季節,總是嚴陣以待,煩惱不斷!今年2月份應急部發布了《油氣儲存企業緊急切斷系統基本要求(試行)》的通知后,各大?;菲髽I、油氣存儲基地等企業公司都紛紛響應,開始安裝雷電預警系統,為企業安上一雙“火眼金睛”,提早獲知雷電臨近,提早做好防御措施,從此被動防雷變成了主動防雷。
2022-11-07
查看詳情>>很多人對電梯井浪涌保護器選型這個問題比較困惑,而電梯井的浪涌保護器作用關乎電梯的安全,所以是一個非常嚴肅的安全問題!那么到底要怎么選呢?今天就和大家聊聊這個電梯井浪涌保護器的問題。
2022-11-07
查看詳情>>浪涌保護器漏電流是越小越好嗎? 0漏電流的SPD有嗎?【易造
我們經常用的由壓敏電阻構成的浪涌保護器都是會有漏電流的問題存在。通常情況,浪涌保護器漏電流越大,更容易造成浪涌保護器的自熱、劣化、縮短使用壽命,情況嚴重還會引起爆炸,造成嚴重的安全事故。
2022-11-17
查看詳情>>雷電峰值記錄儀,主要用于電力系統、能源系統、鐵路系統、氣象和文物古建筑等行業,它能記錄自然雷電流發生的大小、時間、次數、極性等數據,為今后防雷設計改進、雷電事故分析提供數據作為支撐,對于提高設備雷電防護、設備可靠運行改造,雷電峰值記錄儀具有重要的參考意義。
2022-11-07
查看詳情>>


































































